关怀版
无障碍
政策
行政规范性文件
绥政规
绥政办规
政府文件
绥政发
绥政办发
其他
政策解读
政府信息
公开指南
政府信息
公开制度
法定主动
公开内容
领导信息
县政府领导
机关简介
规划信息
国民经济和社会发展规划
国土空间规划
专项规划
区域规划
统计信息
统计公报
统计年鉴
行政许可
行政许可信息公示
行政许可事项
处罚/强制
行政处罚信息公示
权责清单
预算/决算
县政府预决算
部门预决算
收费项目
行政事业性收费项目
行政事业性收费标准
政府采购
重点领域
乡村振兴
教育
医疗
医疗
医疗保障
社会保障
养老服务
促进就业
环境保护
公共卫生
安全生产
食品药品
重大项目
重大建设项目批准情况
重大建设项目实施情况
应急管理
应急预案
通知公告
人事信息
公务员招录
市政建设
土地征收
房屋征收
治安管理
其他政府信息
财政资金直达基层
政务信息建设工作
县政府法制报告
自然资源信息公开
公共文化服务
社会救助
涉农资金信息公开
惠民惠农财政补贴资金
助企纾困
政府信息
公开年报
政府信息公开年报
县直部门信息公开年报
乡镇信息公开年报
依 申 请
公 开
政府信息公开申请表
进度查询
基层政务公
开标准目录
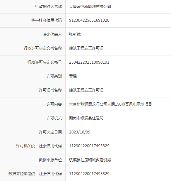
大唐绥滨新能源有限公司建筑工程施工许可
2023-10-19 14:02 绥滨县住房和城乡建设局
扫一扫在手机打开当前页
网站导航
中央政府和国家部委网站
国家矿山安全监察局
国家消防救援局
国家外汇管理局
国家药品监督管理局
国家林业和草原局
国家铁路局
中国民用航空局
国家邮政局
国家文物局
国家中医药管理局
国家疾病预防控制局
中国气象局
国家行政学院
国家粮食和物资储备局
国家能源局
国家数据局
国家国防科技工业局
国家烟草专卖局
国家移民管理局
国务院新闻办公室
新华通讯社
中国科学院
中国社会科学院
中国工程院
国务院发展研究中心
中央广播电视总台
国家新闻出版署(国家版权局)
国家宗教事务局
国务院研究室
国务院侨务办公室
国务院港澳事务办公室
国务院台湾事务办公室
国家互联网信息办公室
国家知识产权局
国家国际发展合作署
国家医疗保障局
国务院参事室
国家机关事务管理局
国家反垄断局
国家认证认可监督管理委员会
国家标准化管理委员会
国家市场监督管理总局
国家金融监督管理总局
中国证券监督管理委员会
国家广播电视总局
国家体育总局
国家信访局
国家统计局
国家外国专家局
国家海洋局
国家核安全局
国家乡村振兴局
国务院国有资产监督管理委员会
海关总署
国家税务总局
退役军人事务部
应急管理部
中国人民银行
审计署
国家语言文字工作委员会
国家航天局
国家原子能机构
住房和城乡建设部
交通运输部
水利部
农业农村部
商务部
文化和旅游部
国家卫生健康委员会
国家安全部
民政部
司法部
财政部
人力资源和社会保障部
自然资源部
生态环境部
国家发展和改革委员会
教育部
科学技术部
工业和信息化部
国家民族事务委员会
公安部
中国政府网
外交部
国防部
省区市政府网站
香港
澳门
台湾
新疆生产建设兵团
贵州
云南
西藏
陕西
甘肃
青海
宁夏
新疆
湖北
湖南
广东
广西
海南
重庆
四川
江苏
浙江
安徽
福建
江西
山东
河南
河北
山西
内蒙古
辽宁
吉林
黑龙江
上海
北京
天津
县区政府网站
绥滨县
萝北县
东山区
兴安区
向阳区
工农区
南山区
兴山区
重要链接
新华网
人民网
中国互联网联合辟谣平台
中国互联网举报中心
|
政府网站标识码:2304220006
|
备案许可证号:黑ICP备09010409号
|
黑公网安备 23042202000005号
|
hi!我是智能问答机器人绥小滨
很高兴为您服务~